深圳市塑胶球盟会官网登录入口有限公司分型面说明文件打合文件打荷
2018-09-09
油温机的销售和维修,徐小姐的电话27272284
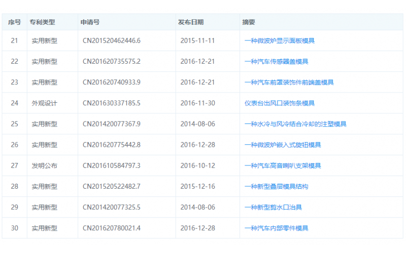
球盟会官网登录入口厂的实用新型专利-实例说明
一个计算机软件专业的学生转型成为球盟会官网登录入口厂老板的过程
一个球盟会官网登录入口到底需要多少铜公
如何增加深模公司的商誉,周星驰邓超郭德纲比较
球盟会官网登录入口,专业生产杯士铜
银川市深模塑胶球盟会官网登录入口有限公司专业开发塑胶球盟会官网登录入口注塑喷油丝印硅胶
球盟会官网登录入口设计的关键
球盟会官网登录入口7级定位
球盟会官网登录入口精度分几类
叶轮球盟会官网登录入口要注意的事项